冠中黎电子科技
 
KTK12(A) 矿用本安型扩播电话
返回分类菜单
产品介绍
KTK12(A)本安型扩播电话属本质安全型设备,支持TCP/IP通信协议,KTK12(A)本安型扩播电话采用DSP数字信号处理器通过降噪计算方法,对信号进行处理,然后输出清晰的语音信号送入功放,在高噪声环境下可获得良好的通话效果和扩音效果。

产品介绍
KTK12(A)本安型扩播电话支持二线电话线和环网通信接入,特别适用于易燃易爆、高噪声、高度潮湿环境如煤矿、隧道、化工、码头、发电厂管廊等场所,KTK12(A)本安型扩播电话作为调度应急扩播通信及报警通信终端使用。能有效解决工作区域内环境噪声大且人员流动性大的通讯问题,具有安装使用方便、通话质量好、消除呼叫盲点等优点,可以提高工作效率,确保现场生产安全。

产品功能
●  安全标志编号:MAK190026;
●  防护等级达IP65,适用于恶劣环境;
●  外壳采用高强度505不锈钢制作,机壳一体化设计;
●  采用无触点结构设计,避免形成电火花,起到防爆作用;
●  采用脉冲、双音频兼容拨号;
●  采用声光两种方式提示;
●  按键带夜光显示,以方便在昏暗环境下操作;
●  话机正面设有振铃指示灯,便于在昏暗环境中识别电话机来电呼叫;
●  在拨号盘上配置急呼按键,可以一键急呼调度台;
●  话柄采用感应式叉簧开关机构,话机上无任何可动零部件;
●  支持任何形式PSTN网及NGN网的广播主机、调度交换机配合使用;
●  采用军用抗噪声手柄式送受话器组,利用声压平衡原理,并配合相关电路组合而成,手柄抗噪声;
●  具有消除背景噪音功能;
●  在无人接听后,广播电话自动接通,同时启动喇叭,主叫方马上能进行广播呼叫,喊话、通知播放;
●  声音声响达100db(分贝);
●  音质高清晰、宽频响、无任何啸叫,全双工DSP数字降噪处理技术;
●  忙音检测自动挂机;
●  操作与普通电话机相同,扩音系统由微电脑自动控制,无需人工操作。

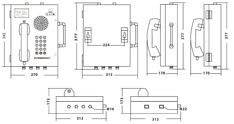
结构尺寸

Copyright © 广州冠中黎电子科技有限公司 All Rights Reserved.   粤ICP备2021004623号